Shop

Aseptik- / Hygiene-Klemmverbindung
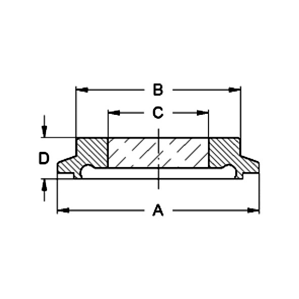
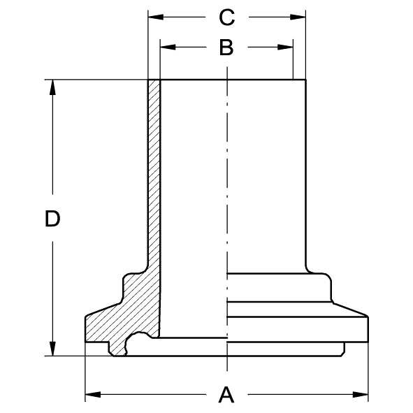
DIN 11853-3 + DIN 11864-3

Aseptik- und Hygiene-Klemmverbindungen

Bitte wählen Sie im Folgenden Ihre gewünschte Produktvariante

B10)